1. Киришүү
This manual provides detailed instructions for the installation, operation, and maintenance of your Kaadas S8-5 Lever Smart Lock. Please read this manual thoroughly before installation and use to ensure proper function and longevity of the product. Retain this manual for future reference.
2. Продукт бүтүп калдыview
The Kaadas S8-5 Lever Smart Lock offers multiple access methods and enhanced security features for residential and commercial applications. It is designed for ease of use and reliable performance.
Негизги өзгөчөлүктөрү:
- Көп жолдуу мүмкүндүк алуу ыкмалары: Fingerprint, Passwords, RF Card, Mechanical Override Key, and Smart Phone (via Bluetooth interface).
- Automatic Relock: The mortise automatically relocks within seconds after the door is opened.
- Auto Polling: RF cards are instantly authenticated without needing to press a wake-up button.
- Sweden FPC Fingerprint Sensor: Provides accurate and swift recognition in less than 1 second.
- Жасалма PIN коддун өзгөчөлүгү: Allows entry of random numbers before and after the actual password to prevent exposure.
- Кош аутентификация: Requires both a password and fingerprint/card for enhanced security.
- In-Home Security (Double-locking): Prevents external unlocking attempts when activated from inside.
- Voice & Keypad Volume Control: Adjustable volume settings, including a mute option.
- Батареянын аздыгы жөнүндө эскертүү: Audible alert during door access indicates low battery.
- Өзгөчө кырдаалдарда электр менен жабдуу: Micro USB port for temporary power in case of full battery depletion.
Компоненттери:

Сүрөт 2.1: Алдыңкы жана арткы view of the Kaadas S8-5 Lever Smart Lock. The exterior unit features a keypad and fingerprint sensor, while the interior unit includes a thumb-turn knob and battery compartment.

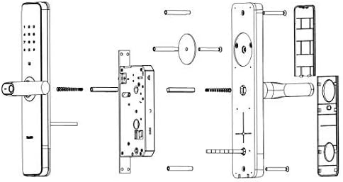
Figure 2.2: Exploded diagram illustrating the individual components of the Kaadas S8-5 Smart Lock, including the exterior and interior units, mortise, and mounting hardware.
3. Орнотуу жана орнотуу
The Kaadas S8-5 Smart Lock is designed for universal installation, accommodating various door opening directions. Professional installation is recommended to ensure optimal performance and security.
3.1 Орнотууга чейинки текшерүүлөр
- Verify door thickness is between 38mm and 60mm.
- Ensure the door frame is clear of obstructions.
- Confirm all components listed in the packaging are present.
3.2 Батареяны орнотуу
The lock requires 8 AA alkaline batteries (DC 6V). Ensure correct polarity when inserting batteries into the interior unit's battery compartment. Do not mix old and new batteries or different types of batteries.
3.3 Initial Configuration (Master Password)
Upon first power-up, the lock will prompt for master password registration. Follow the voice prompts to set a master password. This password is essential for accessing advanced settings and managing user credentials.
4. Иштөө нускамалары
The Kaadas S8-5 Smart Lock offers multiple convenient ways to unlock your door.
4.1 Кулпуну ачуу ыкмалары
- Манжа изи: Place a registered finger on the fingerprint sensor. The lock will unlock upon successful recognition.
- Купуя сөз: Катталган сырсөзүңүздү тергичтен, андан кийин '#' баскычын киргизиңиз.
- RF Card: Present a registered RF card to the card reader area on the exterior unit.
- Механикалык ачкыч: In case of emergency or battery failure, insert the mechanical key into the keyhole and turn to unlock.
- Smart Phone (Bluetooth): Use the dedicated mobile application to unlock the door via Bluetooth connection. Refer to the app's instructions for pairing and usage.
4.2 Advanced Security Features
- Жасалма PIN код: To prevent password exposure, you can enter random digits before or after your actual password. For example, if your password is '123456', you can enter '987123456321' and the lock will still recognize '123456'.
- Кош аутентификация: This mode requires two different authentication methods (e.g., password + fingerprint, or password + card) to unlock the door. This feature can be enabled in the lock's settings menu.
- In-Home Security (Double-locking): When inside, turn the thumb-turn knob on the interior unit to activate double-locking. This prevents the lock from being opened from the outside, even with valid credentials.
4.3 Үндү башкаруу
The voice prompts and keypad tones can be adjusted or muted through the lock's settings menu. Refer to the voice guidance for navigation.
5. Техникалык тейлөө
5.1 Батареяны алмаштыруу
When the low battery warning signal is activated, replace all 8 AA alkaline batteries promptly. Failure to do so may result in the lock becoming inoperable. Use the emergency power supply via the Micro USB port if batteries are fully depleted before replacement.
5.2 Тазалоо
Clean the lock's exterior surfaces with a soft, dry cloth. Avoid using abrasive cleaners, solvents, or harsh chemicals, as these can damage the finish and electronic components. Keep the fingerprint sensor and keypad free from dirt and moisture.
6. Кыйынчылыктарды
- Кулпу жооп бербей жатат: Check battery levels. If batteries are depleted, use the emergency Micro USB power port or the mechanical key.
- Манжа изи таанылган жок: Манжаңыздын таза жана кургак экенине ынаныңыз. Маселе чечилбесе, манжа изиңизди кайра каттаңыз.
- Сырсөз иштебей жатат: Verify the correct password is being entered. Ensure the keypad is clean and responsive. Try the Fake PIN code feature.
- RF card not detected: Ensure the card is correctly positioned over the reader. Re-register the card if necessary.
- Voice prompts are too loud/quiet: Adjust the volume settings as described in Section 4.3.
Бул чечимдерге аракет кылгандан кийин көйгөйлөр чечилбесе, кардарларды колдоо кызматына кайрылыңыз.
7. Техникалык шарттар

Figure 7.1: Dimensional drawing of the Kaadas S8-5 Smart Lock, showing key measurements for installation planning.

Figure 7.2: Detailed specifications table for the Kaadas S8-5 Smart Lock, outlining various technical parameters.
| Өзгөчөлүк | Спецификация |
|---|---|
| Модел | S8-5 |
| Материал | Цинк эритмеси |
| Өлчөмдөрү (алдыңкы бөлүгү) | 341 x 76 x 82 мм |
| Dimensions (Back) | 343 x 81 x 82 мм |
| Колдонула турган эшик калыңдыгы | 38-60 мм |
| Түс | Обсидиан Кара |
| Кулпуну ачуу ыкмалары | Fingerprint, Card, Password, Key |
| Master Password Capacity | 1 |
| User Password Capacity | 10 |
| Password Length | 6-12 сан |
| RF Card Type | RFID, Mifare, IC, S50, S70 |
| Карта сыйымдуулугу | 100 |
| Манжа изинин сенсорунун түрү | Жарым дирижер |
| Манжа изин аныктоо убактысы | <0.5 сек |
| Манжа изинин сыйымдуулугу | 100 |
| Double Locking Mode | Автоматтык |
| Электр камсыздоо | DC 6V (8 АА батарейка) |
| Өзгөчө кырдаалда электр кубатын берүү | Микро USB порту |
| Батареянын иштөө мөөнөтү | Болжол менен 12 ай |
| Mechanical Cylinder & Key | камтылган |
| Иштөө температурасы | -20°Cден 55°Cге чейин |
| Иштөө нымдуулугу | 15%-90% RH |
| Lockbody | S24A |
| Anti-Panic Function | Ооба |
| Ачылыш багыты | Универсал |
| Center Расстояние | 68 мм |
| Backset | 60 мм |
8. Кепилдик жана колдоо
For warranty information, please refer to the documentation provided at the time of purchase or contact your authorized Kaadas dealer. For technical support or service inquiries, please reach out to Kaadas customer service through their official channels.





