1. Киришүү
Бул колдонмодо SEBSON кыймыл сенсорун, сигнализация жана коңгуроо системасын орнотуу, иштетүү жана техникалык тейлөө боюнча кеңири көрсөтмөлөр берилген. Түзмөктүн туура иштешин жана коопсуздугун камсыз кылуу үчүн аны колдонуудан мурун бул колдонмону кылдаттык менен окуп чыгыңыз.
SEBSON кыймыл сенсору өзүнүн аныктоо талаасындагы адамдардын, ири жаныбарлардын жана унаалардын кыймылын аныктоо үчүн иштелип чыккан. Ал сигнализация же коңгуроо катары иштей алат, бул аны кирүү эскертүүлөрү же коопсуздук эскертмелери сыяктуу ар кандай колдонмолорго ылайыктуу кылат.
2. Коопсуздук нускамалары
- Түзмөктүн кургак, имараттын ичинде орнотулганын текшериңиз. Нымдуулукка же өтө жогорку температурага дуушар болбоңуз.
- 9 В щелочтуу батареяларды гана колдонуңуз. Эски жана жаңы батареяларды, же ар кандай типтеги батареяларды аралаштырбаңыз.
- Колдонулган батарейкаларды жергиликтүү эрежелерге ылайык жок кылыңыз.
- Түзмөктү ачууга же өзгөртүүгө аракет кылбаңыз. Бул кепилдикти жокко чыгарып, коопсуздукка коркунуч келтириши мүмкүн.
- Аппаратты балдар жетпеген жерде сактаңыз.
3. Пакеттин мазмуну
Пакетте бардык буюмдар бар экенин текшериңиз:
- 2 x SEBSON кыймыл сенсору
- 4 x Монтаждоо бурамалар
- 4 x Дубалга орнотулган сайгычтар (Ø6 мм)
Эскертүү: 9V батарейкалар комплектке кирбейт жана аларды өзүнчө сатып алуу керек.
4. Продукт бүтүп калдыview
SEBSON кыймыл сенсору негизги сенсордук блоктон жана айланма бекитүүчү кронштейнден турат. Негизги компоненттерге кыймылды аныктоочу линза, динамиктин торчосу жана режимди тандоо которгучу кирет.

Сүрөт: Эки SEBSON кыймыл сенсору, алардын компакттуу дизайны жана ак түстөгү түсү көрсөтүлгөнasing.

Сүрөт: деталдуу view кыймыл сенсорунун жанындагы режим которгучун "CHIME", "OFF" жана "ALARM" жөндөөлөрү менен белгилеп коюңуз.
5. Орнотуу
5.1 Батареяны орнотуу
- Сенсордук блоктун арткы жагында жайгашкан батарея бөлүмүнүн капкагын акырын жылдырып ачыңыз.
- Туура полярдуулукту (+/-) камсыз кылып, эки 9V щелочтуу батареяны салыңыз.
- Батарея уясынын капкагын бекем жабыңыз.

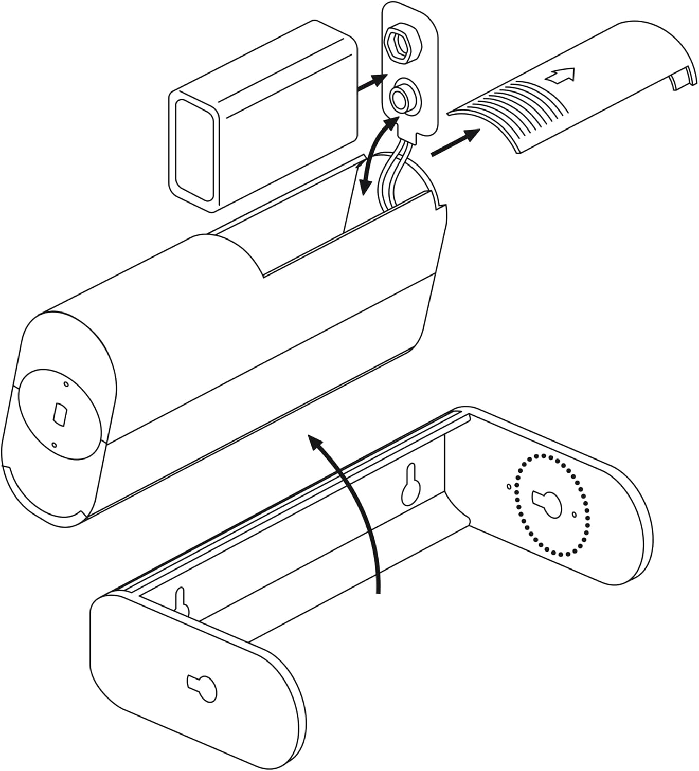
Сүрөт: Батарея бөлүмүн кантип ачып, батарейкаларды өзүнчө орнотуучу кронштейн менен кошо кантип салуу керектигин көрсөткөн жарылган диаграмма.
5.2 Сенсорду орнотуу
- Сенсор үчүн ылайыктуу жерди тандаңыз. Аныктоо диапазону 8 метр, ал эми бурчу 60°. Кыймылды көзөмөлдөө керек болгон жерлерди карап көрүңүз.
- Шаблон катары орнотуу кронштейнин колдонуп, дубалга бекитүүчү бурамалардын ордун белгилеңиз.
- Белгиленген жерлерде эки тешик (Ø6 мм) бургулаңыз.
- Берилген дубал сайгычтарды бургуланган тешиктерге салыңыз.
- Берилген бурамалар аркылуу монтаждык кронштейнди дубалга бекитиңиз.
- Кыймыл сенсорун орнотулган кронштейнге жылдырыңыз. Детектордун корпусун кронштейндин ичинде 360° буруп, аныктоо аймагын тууралоого болот.

Сүрөт: Сенсордун 8 метрлик аныктоо диапазонун, 60 градустук аныктоо бурчун жана кронштейндин ичиндеги сенсор блогунун 360 градуска айлануу функциясын көрсөткөн техникалык диаграмма.
6. Иштөө нускамалары
SEBSON кыймыл сенсору иштөө режимин тандоо үчүн үч позициялуу которгучка ээ:
- CHIME режими: Кыймыл аныкталганда, сенсор кыска, жагымдуу коңгуроо үнүн чыгарат. Бул режим дүкөндөргө же кеңселерге кирүү жөнүндө эскертүүлөр үчүн идеалдуу.
- ӨЧҮРҮҮ РЕЖИМИ: Сенсор өчүрүлгөн жана кыймылды аныктабайт же эч кандай үн чыгарбайт.
- СИГНАЛДАТУУ режими: Кыймыл аныкталганда, сенсор катуу сигнал берет. Бул режим коопсуздук максатында ылайыктуу.
Режимди тандоо үчүн, сенсордун капталындагы которгучту каалаган абалга (CHIME, OFF же ALARM) жылдырыңыз.

Сүрөт: деталдуу view сенсордун капталында, Коңгуроо, Өчүрүү жана Ойготкуч режимдеринин ортосунда тандоо үчүн үч позициялуу которгучту даана көрсөтүп турат.
7. Техникалык тейлөө
- Тазалоо: Сенсордун сыртын жумшак, кургак чүпүрөк менен сүртүңүз. Абразивдүү тазалоочу каражаттарды же эриткичтерди колдонбоңуз.
- Батареяны алмаштыруу: Эгерде үн алсырап калса же сенсор жооп бербей калса, 9V батарейкаларды алмаштырыңыз. 5.1-бөлүмдөгү батарейканы орнотуу кадамдарын аткарыңыз.
- Линзага кам көрүү: Оптималдуу иштешин камсыз кылуу үчүн кыймылды аныктоочу линзаны таза жана тоскоолдуктардан алыс кармаңыз.
8. Кыйынчылыктарды
| Көйгөй | Мүмкүн себеп | Чечим |
|---|---|---|
| Сенсор кыймылды байкабай жатат. |
|
|
| Үн өтө төмөн же бурмаланган. |
|
|
| Жалган сигналдар. |
|
|
9. Техникалык шарттар
| Өзгөчөлүк | Деталь |
|---|---|
| Бренд | SEBSON |
| Модель номери | 2_X_BWM_ALARM_B |
| Power Source | Батарея менен иштейт (2x 9V батарейкалар, кошулган эмес) |
| Сунушталган батареянын түрү | щелочтуу |
| Тактоо диапазону | 8 метрге чейин |
| Detection Angle | 60 градус |
| Айлануу мүмкүнчүлүгү | 360 градус (кашаанын ичинде) |
| Монтаж түрү | Дубалга орнотуу |
| Түс | Ак |
| Өлчөмдөрү (пакет) | 12 x 9 x 8 см |
| Салмагы (пункт) | 280 г |
10. Кепилдик жана колдоо
SEBSON өнүмдөрү жогорку сапат стандарттарына ылайык иштелип чыккан жана өндүрүлгөн. Бул өнүм өндүрүүчүнүн стандарттуу кепилдиги менен келет. Кепилдиктин чоо-жайы, техникалык колдоо же түзмөгүңүз боюнча жардам алуу үчүн, SEBSON кардарларды тейлөө кызматына алардын расмий өкүлү аркылуу кайрылыңыз. webпродукт сатылып алынган сайт же сатуучу.
Кепилдик дооматтары үчүн сатып алганыңыздын далилин сактап коюңуз.





